
截图来自:中国裁判文书网
近日,中新观察在中国裁判文书网注意到一则题为《鹰潭市市场监督管理局、深圳市宝德生物科技有限公司非诉执行审查行政裁定书》(以下简称:《行政裁定书》)。
据该《行政裁定书》显示,江西省鹰潭市市场监督管理局于2019年9月27日对被申请执行人作出的鹰市监公[2019]5号行政处罚决定书,虽然被申请执行人在法定期限内上级行政机关申请复议,并在之后向南昌铁路运输法院提起行政诉讼,但被申请执行人经法院传票传唤,无正当理由拒不到庭,法院裁定按撤诉处理,行政处罚决定已发生法律效力。
申请执行人于2020年7月6日向本院提出申请执行鹰市监公[2019]5号行政处罚决定书,要求强制执行被申请执行人应缴违法所得32320605.53元、罚款2000000元,罚没款合计34320605.53元;强制扣划执行深圳市宝德生物科技有限公司、刘小燕、郑觉平被月湖区法院冻结的涉及本案传销资金合计5119936.57元(扣划执行的5119936.57元包含在应缴罚没款合计34320605.53元内,该5119936.57元金额扣划后将予以折抵应缴罚没款,不再重复执行。)
本院受理后,依法组成合议庭,对申请执行人行政行为合法性进行了审查,认为该处罚决定事实清楚,证据确实、充分,适用法律、法规正确。依照《中华人民共和国行政诉讼法》第九十七条之规定,裁定如下:
一、准予强制执行被申请执行人深圳市宝德生物科技有限公司应缴罚没款合计34320605.53元;
二、扣划深圳市宝德生物科技有限公司在支付宝的存款699134.53元至鹰潭市月湖区人民法院;
三、扣划刘小燕在上海银行陆家浜路支行的存款3431881.53元至鹰潭市月湖区人民法院;
四、扣划郑觉平在中国农业银行上海市南外滩支行的存款988920.51元至鹰潭市月湖区人民法院(上述二、三、四项扣划金额合计5119936.57元包含在应缴罚没款合计34320605.53元内,该5119936.57元金额扣划后将予以折抵应缴罚没款,不再重复执行。)
申请执行人如不服本裁定,可以在收到裁定书之日起十五日内,通过本院向南昌铁路运输中级法院申请复议,也可以直接向南昌铁路运输中级法院申请复议。


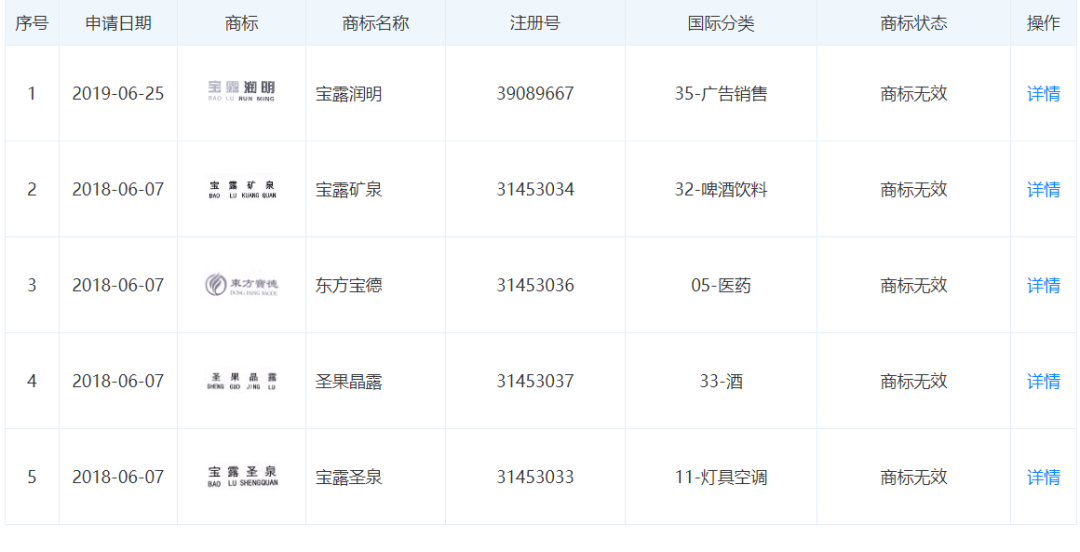
据天眼查APP显示,深圳市宝德生物科技有限公司(以下简称:宝德公司)成立于2017年7月6日,注册资本为6790万元,鹿培帅担任法人、执行董事,总经理,持股90%,叶人槐持股10%。该公司注册的商标“宝露润明”(35-广告销售)“宝露矿泉”“东方宝德”“圣果晶露”“宝露圣泉”显示“商标无效”。


网传奖金制度
据相关人士透露:“宝德公司从2018年就被曝采用直销的模式发展业务,其直销主打的产品则是宝露润明护眼液。事实上,该公司根本没有直销经营许可证。”此外,中新观察查询发现有网友反映:“宝德公司销售的宝露润明只是一款消字号产品,但这款产品被包装成治疗眼疾病的神药,销售方式跟传销差不多了,迟早都要出事。”

网传奖金制度
对此,中新观察将持续关注。
【文章来源:中新融媒 特此鸣谢!版权归原作者所有,如有侵权请联系删除!】
 
						
